气压调节阀  ★★★
  • P30
  • 概述

    P30系列气压调节阀用于调节空气到气压传动装置。

    特点

    • 嵌入式压力表节省了安装空间
    • 压入式自锁装置可防止压力调节过程中因外部干扰引起的变化。
    • 压力稳定调整,重复精度高
    • 板式安装,可选固定支架安装
    • 低压型可用,最大调节压力为0.4MPa

    工作介质空气
    气压调节范围0.15~0.9MPa
    最大可调气压1.0MPa
    耐压1.5MPa
    工作温度-20~70℃
    连接G螺纹 (PT,NPT可制) 


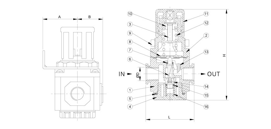
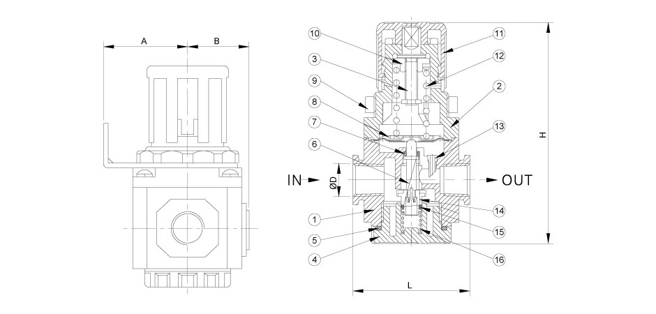
    编号零件名称材质
    1可调阀体铝合金
    2可调阀座铝合金
    3主调节阀轴
    4阀盖铝合金
    5O型圈NBR
    6调节杆黄铜
    7O型圈NBR
    8可调薄膜SS304+橡胶
    9固定环盖铝合金
    10六角帽
    11可调按钮POM
    12弹簧SWC
    13反馈管POM
    14塞子黄铜+橡胶
    15O型圈NBR
    16弹簧不锈钢


    类型ABDHL
    200-063032G1/88947
    200-086230G1/48947
    300-084131G1/411360
    300-104131G3/811360
    300-154131G1/211360
    400-105040G3/814180
    400-155040G1/214180